Produse

Produse

ZHENGRONG 1000VDC 200A 50Ka Siguranță

ZHENGRONG 1000VDC 200A 50Ka Siguranță

Model:ZHRS-A1
Siguranțele Zhenghao au generat o cerere corespunzătoare pentru sistemele de stocare a energiei bateriei (BESS) pe baza feedback-ului de pe piața clienților cu privire la creșterea generării de energie regenerabilă. Echipa de siguranțe Zhenghao a lansat noua serie de energie ZHRS. Odată cu creșterea densității de putere a bateriilor moderne litiu-ion, integratorii BESS se străduiesc să ofere clienților mai multă putere cu o amprentă mai mică pentru a satisface nevoile acestora.

Introducere

Aceste sisteme permit captarea excesului de energie generată în orele de vârf, stocând-o pentru utilizare în perioadele în care cererea de energie este mare, reducând în cele din urmă costurile totale și oferind o alternativă durabilă la sursele tradiționale de energie.

Sistemele de stocare a energiei au devenit din ce în ce mai populare în ultimii ani, pe măsură ce tot mai mulți oameni apelează la surse de energie regenerabilă, cum ar fi energia solară și eoliană.


În calitate de producător cu sediul în China, suntem mândri să oferim produse de înaltă calitate, fiabile, care răspund nevoilor comercianților care doresc să aprovizioneze componente de stocare a energiei la prețuri angro.

Legătura de siguranță pentru stocarea energiei ZHRS-A1 160-450A este o componentă esențială a oricărui sistem de stocare a energiei.


Caracteristici

Siguranța de stocare a energiei ZHRS-A1 160-450A este proiectată pentru a oferi o soluție eficientă și sigură pentru sistemele de stocare a energiei. Această siguranță este concepută special pentru aplicații cu curent ridicat, unde protecția este crucială pentru a preveni supracurent, scurtcircuit sau alte defecțiuni electrice.

Capacitatea nominală de rupere este de 50 kA, iar tensiunea nominală a legăturii siguranțelor este de 800 VDC, permițându-i să gestioneze cantitatea mare de curent necesară sistemului de stocare a energiei. Siguranțele pot rezista și la temperaturi ridicate, asigurând funcționarea normală chiar și în cele mai dure medii.

În plus, siguranța de stocare a energiei ZHRS-A1 160-450A are un design compact care este ușor de instalat și de integrat în orice sistem de stocare a energiei. Acest tip de siguranță este foarte potrivit pentru o gamă largă de aplicații, inclusiv sisteme fotovoltaice, bănci de stocare a energiei și alte sisteme de energie regenerabilă.


Beneficii

Există mai multe beneficii de care comercianții se pot bucura atunci când își aprovizionează legătura cu siguranțe de stocare a energiei ZHRS-A1 160-450A din fabrica noastră din China. Acestea includ:

Produse de înaltă calitate

Preturi competitive

Personalizare


Concluzie

Recomand cu căldură ZHRS-A1 160-450A Energy Storage Fuse Link comercianților care caută produse de înaltă calitate și fiabile pentru nevoile lor de stocare a energiei regenerabile. Fuse Link este proiectat pentru a oferi o soluție eficientă și sigură pentru sistemele de stocare a energiei, fiind în același timp foarte personalizabil și cu prețuri de vânzare. Produsele noastre sunt testate riguros pentru a ne asigura că clienții noștri primesc numai ce este mai bun și ne angajăm să oferim un serviciu excelent pentru clienți tuturor clienților noștri.


Descriere

În zilele noastre, odată cu creșterea nivelurilor de putere, protecția circuitelor a devenit din ce în ce mai importantă.


Caietul de sarcini

Numărul de model
ZHRS-A1
Evaluări

Voltaj
1000VDC
Actual
160-450A
Capacitate de rupere
100KA
Constanta de timp 1-15MS
Clasa de operare
aR
Standarde/Aprobari
IEC60269, CCC
Țara de origine
China

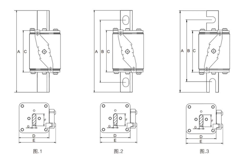
Model
Dimensiune (mm)
ZHRS-A1
A B C D E F G SMOCHIN
133.5 100.5 68 48 63 20 6 2


Hot Tags: 1000VDC 200A 50Ka Siguranță
Trimite o anchetă
Informatii de contact
  • Abordare

    19, Xianshi South Road, Zona industrială Xinguang, orașul Liushi, orașul Yueqing, orașul Wenzhou, provincia Zhejiang, China

Pentru întrebări despre siguranța fotovoltaică DC, siguranța cilindrică, șurubul pătrat BS88 siguranță sau lista de prețuri, vă rugăm să ne lăsați e -mailul și să ne vom contacta în 24 de ore.
X
Folosim cookie-uri pentru a vă oferi o experiență de navigare mai bună, pentru a analiza traficul site-ului și pentru a personaliza conținutul. Prin utilizarea acestui site, sunteți de acord cu utilizarea cookie-urilor. Politica de confidențialitate
Respinge Accepta